Замечание: Undefined index: REDIRECT_URL в файле /var/www/champion-tools.ru/public_html/hostcmsfiles/lib/lib_156/lib_156.php (строка 244)

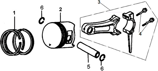
Поршневая группа бензогенератора Champion GG8000E

Поршневая группа бензогенератора Champion GG8000E

АртикулФотоНазваниеЦенаКупить
Позиция на схеме: 1Артикул: 130070088-0001
Быстрый просмотр
Кольцо поршневое 90х2x2x2.8 мм G420HK, GG5000EW GG8000E GG6501Е GG7500ES GG7501E GG7501E3, GW200 комплектЦена 549 р. В корзину
Позиция на схеме: 2Артикул: TW00040015
Быстрый просмотр
Поршень 90х66 мм G420HK, GG8000E / 6501Е, 7500ES, 7501E, 7501E3, GW200AE комплект см. 1500051
Посмотреть аналог
Цена 1 949 р. Уведомить
Позиция на схеме: 3Артикул: 130150049-0001
Быстрый просмотр
Шатун G420HK - 130150049-0001Цена 855 р. В корзину
Работаем с 2009 года
например, коленвал 120T
861 товар в магазине

Колл-центр

ПН-ПТ 10:00 - 18:00
СБ-ВС Выходной


время работы: ПН-ПТ 10:00 - 18:00, СБ-ВС Выходной

Меню

Каталог

Добавьте в корзину

Товар добавлен в корзину!