Замечание: Undefined index: REDIRECT_URL в файле /var/www/champion-tools.ru/public_html/hostcmsfiles/lib/lib_156/lib_156.php (строка 244)

Гидроцилиндр Champion LSH5001

Гидроцилиндр Champion LSH5001

АртикулФотоНазваниеЦенаКупить
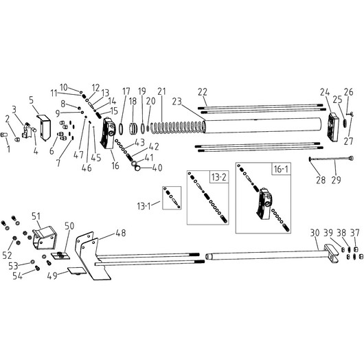
Позиция на схеме: 1Артикул: CBA55123-B
Быстрый просмотр
Гайка крепления рычага
Позиция на схеме: 3Артикул: CBA55015
Быстрый просмотр
Рычаг управления гидроприводом
Позиция на схеме: 4Артикул: CBA55119
Быстрый просмотр
Ручка рычага
Позиция на схеме: 5Артикул: CBA55101-A
Быстрый просмотр
Плата крепления рычага
Позиция на схеме: 6Артикул: CBA55124-B
Быстрый просмотр
Гайка
Позиция на схеме: 7Артикул: CBA55154
Быстрый просмотр
Прокладка гайкиЦена 45 р. В корзину
Позиция на схеме: 8Артикул: CBA55153-A
Быстрый просмотр
Болт М8
Позиция на схеме: 9Артикул: 210010055200
Быстрый просмотр
Уплотнительное кольцо
Позиция на схеме: 11Артикул: CBA55113-1
Быстрый просмотр
Пружина клапана Уведомить
Позиция на схеме: 12Артикул: 210020060150
Быстрый просмотр
Уплотнительное кольцо В корзину
Позиция на схеме: 13Артикул: CBA55114
Быстрый просмотр
Шток клапана
Позиция на схеме: 13Артикул: CBA55114SET
Быстрый просмотр
Шток клапана, комплект LSH5001Цена 729 р. Уведомить
Позиция на схеме: 13Артикул: CBD55102-4R+V
Быстрый просмотр
Шток клапана гидроцилиндра с втулкой LSH5001 (комплект)Цена 1 649 р. В корзину
Позиция на схеме: 14Артикул: CBA55116
Быстрый просмотр
Сенсорная втулка
Позиция на схеме: 15Артикул: CAA55118
Быстрый просмотр
Пружина сенсорной втулки LSH5001Цена 39 р. В корзину
Позиция на схеме: 16Артикул: CBD55102-3
Быстрый просмотр
Крышка гидроцилиндра задняя LSH5001Цена 2 035 р. В корзину
Позиция на схеме: 17Артикул: 210010500265
Быстрый просмотр
Кольцо уплотнительное задней крышки гидроцилиндра LSH5001 50х2,65Цена 59 р. В корзину
Позиция на схеме: 18Артикул: CBA55103-B
Быстрый просмотр
Поршень LSH5001Цена 1 325 р. В корзину
Позиция на схеме: 19Артикул: 210080550003
Быстрый просмотр
Кольцо уплотнительное поршня LSH5001Цена 365 р. В корзину
Позиция на схеме: 20Артикул: 210020320350
Быстрый просмотр
Кольцо уплотнительное поршня LSH5001 32х3,5Цена 45 р. В корзину
Позиция на схеме: 21Артикул: CBB55105
Быстрый просмотр
Пружина гидроцилиндра
Позиция на схеме: 22Артикул: CBB55121-A
Быстрый просмотр
Шпилька гидроцилиндра
Позиция на схеме: 23Артикул: CBB55206
Быстрый просмотр
Гидроцилиндр LSH5001Цена 3 085 р. В корзину
Позиция на схеме: 24Артикул: CBA55108-3
Быстрый просмотр
Крышка гидроцилиндра передняя LSH5001Цена 3 165 р. В корзину
Позиция на схеме: 25Артикул: 210080300003
Быстрый просмотр
Манжет PU штока поршня LSH5001Цена 295 р. В корзину
Позиция на схеме: 26Артикул: 210020070190
Быстрый просмотр
Кольцо уплотнительное болта барашкового сапуна LSH5001Цена 49 р. В корзину
Позиция на схеме: 27Артикул: CAA55141
Быстрый просмотр
Барашковая гайка Уведомить
Позиция на схеме: 29Артикул: CBB55014-2
Быстрый просмотр
Щуп уровня масла
Позиция на схеме: 30Артикул: CBB55013-1
Быстрый просмотр
Шток поршня LSH5001Цена 4 739 р. В корзину
Позиция на схеме: 40Артикул: CBA55120-1
Быстрый просмотр
Заглушка
Позиция на схеме: 42Артикул: CBA55115
Быстрый просмотр
Втулка клапана задней крышки гидроцилиндра LSH5001Цена 299 р. В корзину
Позиция на схеме: 43Артикул: 210010100200
Быстрый просмотр
Пружина втулки клапана задней крышки гидроцилиндра LSH5001Цена 65 р. В корзину
Позиция на схеме: 45Артикул: 21101060
Быстрый просмотр
Шарик 6 мм
Позиция на схеме: 46Артикул: CBA55122
Быстрый просмотр
Пружина клапана
Позиция на схеме: 48Артикул: CBB55012-1
Быстрый просмотр
Фиксатор опорный толкателя LSH5001 - CBB55012-1Цена 3 409 р. В корзину
Позиция на схеме: 49Артикул: CBA55112-A
Быстрый просмотр
Вставка корпуса толкателя пластиковая 1 LSH5001 - CBA55112-AЦена 85 р. В корзину
Позиция на схеме: 50Артикул: CBA55104
Быстрый просмотр
Вставка корпуса толкателя пластиковая 2 LSH5001 - CBA55104Цена 135 р. В корзину
Позиция на схеме: 51Артикул: CBA55011
Быстрый просмотр
Корпус толкателя
Работаем с 2009 года
например, фильтр 142
861 товар в магазине

Колл-центр

ПН-ПТ 10:00 - 18:00
СБ-ВС Выходной


время работы: ПН-ПТ 10:00 - 18:00, СБ-ВС Выходной

Меню

Каталог

Добавьте в корзину

Товар добавлен в корзину!