Замечание: Undefined index: REDIRECT_URL в файле /var/www/champion-tools.ru/public_html/hostcmsfiles/lib/lib_156/lib_156.php (строка 244)

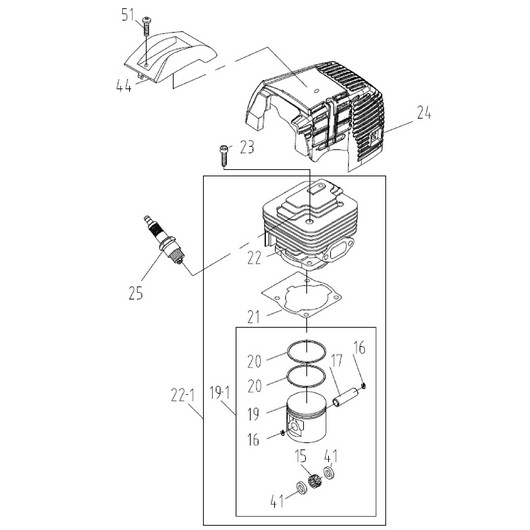
Поршневая группа Champion T444S-2

Поршневая группа Champion T444S-2

АртикулФотоНазваниеЦенаКупить
Позиция на схеме: 17Артикул: 2120000416
Быстрый просмотр
Палец поршня T444S-2 32.5х10Цена 89 р. В корзину
Позиция на схеме: 19Артикул: 2120002630-ASSY
Быстрый просмотр
Поршень T444S-2 комплектЦена 489 р. В корзину
Позиция на схеме: 21Артикул: 2120000252
Быстрый просмотр
Прокладка цилиндра T444S-2Цена 29 р. В корзину
Позиция на схеме: 22Артикул: 2120003881-ASSY
Быстрый просмотр
Поршневая группа T444S-2Цена 1 469 р. В корзину
Позиция на схеме: 24Артикул: 2120015607
Быстрый просмотр
Крышка цилиндра T444S-2Цена 685 р. В корзину
Позиция на схеме: 25Артикул: L7T
Быстрый просмотр
Свеча зажигания для двухтактных двигателей (ECHO, Champion, Husqvarna, Partner, Stihl) - L7TЦена 105 р. В корзину
Позиция на схеме: 44Артикул: 2120015608
Быстрый просмотр
Накладка крышки цилиндра T444S-2 защитнаяЦена 145 р. В корзину
Работаем с 2009 года
например, коленвал 125T
861 товар в магазине

Колл-центр

ПН-ПТ 10:00 - 18:00
СБ-ВС Выходной


время работы: ПН-ПТ 10:00 - 18:00, СБ-ВС Выходной

Меню

Каталог

Добавьте в корзину

Товар добавлен в корзину!