Замечание: Undefined index: REDIRECT_URL в файле /var/www/champion-tools.ru/public_html/hostcmsfiles/lib/lib_156/lib_156.php (строка 244)

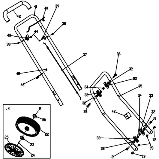
Рукоятка Champion LM5127 после 2019г.

Рукоятка Champion LM5127 после 2019г.

АртикулФотоНазваниеЦенаКупить
Позиция на схеме: 22Артикул: 20880300000
Быстрый просмотр
Колесо переднее LM4622,5131 7" с 2019 г/ LM5127, 5127BS переднее/заднее - 20880300000
Посмотреть аналог
Цена 809 р. В корзину
Позиция на схеме: 25Артикул: 20620030780
Быстрый просмотр
Колпак колеса LM5127, 5127BS
Посмотреть аналог
Цена 105 р. Уведомить
Позиция на схеме: 31Артикул: 60040090000
Быстрый просмотр
Болт крепления нижней рукоятки LM4215, 4622, 4627, 5131 М8х30Цена 45 р. Уведомить
Позиция на схеме: 33Артикул: 20040030780
Быстрый просмотр
Гайка крепления рабочих рукояток LM5127, 5127BSЦена 45 р. В корзину
Позиция на схеме: 37Артикул: 70810030000
Быстрый просмотр
Трос выключения двигателя LM4627 LM5127 с 2019 г (аналог см 70810050000)Цена 415 р. Уведомить
Позиция на схеме: 39Артикул: 70050120000
Быстрый просмотр
Кронштейн крепления тросов LM4627Цена 109 р. В корзину
Позиция на схеме: 40Артикул: 70540083780
Быстрый просмотр
Рычаг выключения двигателя LM4215, 4622, 4627, 4630, 4840, 5127, 5131, 5345, 5345BS, 5346E
Посмотреть аналог
Цена 629 р. В корзину
Позиция на схеме: 43Артикул: 20030030000
Быстрый просмотр
Ограничитель рычага выключения двигателя LM4215, 4622, 4627, 4630, 4840, 5127, 5131, 5345, 5345BS, 5346EЦена 45 р. В корзину
Работаем с 2009 года
например, стартер 120T
861 товар в магазине

Колл-центр

ПН-ПТ 10:00 - 18:00
СБ-ВС Выходной


время работы: ПН-ПТ 10:00 - 18:00, СБ-ВС Выходной

Меню

Каталог

Добавьте в корзину

Товар добавлен в корзину!