Замечание: Undefined index: REDIRECT_URL в файле /var/www/champion-tools.ru/public_html/hostcmsfiles/lib/lib_156/lib_156.php (строка 244)

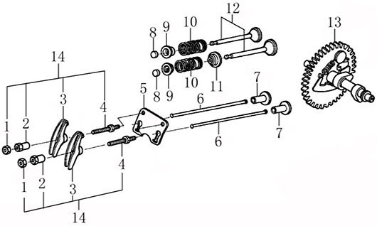
Распредвал и клапана Champion ST655

Распредвал и клапана Champion ST655

АртикулФотоНазваниеЦенаКупить
Позиция на схеме: 1Артикул: 140470001-0001
Быстрый просмотр
Контргайка GS5562
Позиция на схеме: 2Артикул: 140490012-0001
Быстрый просмотр
Гайка коромысла GS5562
Позиция на схеме: 3Артикул: 140460030-0001
Быстрый просмотр
Коромысло клапана GS5562 замена на артикул DAF004
Позиция на схеме: 4Артикул: 140480012-0001
Быстрый просмотр
Шпилька коромысла GS5562
Позиция на схеме: 5Артикул: DAF003
Быстрый просмотр
Направляющая толкателей клапана G200-1HK /GG2000, 3000, 3301, LPG2500, GP50-GTP82 / ST553, 556, 656, 661, 662ЕЦена 29 р. В корзину
Позиция на схеме: 6Артикул: DAF015
Быстрый просмотр
Толкатель клапана G170-1VK, 160HK-200-1HK / ST553, 556, 656, 661, 662Е, 761E, 762Е, GP52, 80, 82, GTP80 ( штанга )Цена 85 р. В корзину
Позиция на схеме: 7Артикул: 140690003-0001
Быстрый просмотр
Тарелка толкателя клапана G200HK, 250HK / ВС5712, 6712, 7712, PC9075F, 1151FT / GTP80 замена на DBF010
Посмотреть аналог
Цена 69 р. Уведомить
Позиция на схеме: 8Артикул: 140320001-0001
Быстрый просмотр
Колпачок клапана G120HK, 160HK, 200VK, 200HK / ST246, 553, 556, 656, 761E, 762Е ( под коромысло ) зам. DAF009
Посмотреть аналог
Цена 25 р. Уведомить
Позиция на схеме: 9Артикул: 140380017-0001
Быстрый просмотр
Сухарь клапана замена на артикул 140380068-0001Цена 35 р. Уведомить
Позиция на схеме: 10Артикул: 140340022-0001
Быстрый просмотр
Пружина клапана G120HK, 160VK, 200VK, 200НК / ST553, 556, 656, 762Е, GS5562 / BC4401, 5602, 6712, 7712 / CVG424Цена 35 р. В корзину
Позиция на схеме: 11Артикул: DAA004
Быстрый просмотр
Колпачок маслосъемный G100HK-210HT/BC8734,9716/GG3200(EW)/ ST553 ST556 ST656 ST762Е
Посмотреть аналог
Цена 55 р. В корзину
Позиция на схеме: 12Артикул: 500550069-0001
Быстрый просмотр
Клапан 25+24 ST556 ST655 ST656 ST762Е GS5562 комплект 2 шт. замена на DC00F006 + DAF006
Посмотреть аналог
Цена 409 р. Уведомить
Позиция на схеме: 13Артикул: 140020114-0001
Быстрый просмотр
Распредвал G160HK, 200HK, 200-1HK, GP55
Посмотреть аналог
Цена 1 015 р. Уведомить
Позиция на схеме: 14Артикул: DAF004
Быстрый просмотр
Коромысло клапана G120-223H G170-1VK/BC8716 CH7648 GP50-82 GG2300,3200(EW)/LM4122(2022) комплект
Посмотреть аналог
Цена 165 р. В корзину
Работаем с 2009 года
например, коленвал 250
861 товар в магазине

Колл-центр

ПН-ПТ 10:00 - 18:00
СБ-ВС Выходной


время работы: ПН-ПТ 10:00 - 18:00, СБ-ВС Выходной

Меню

Каталог

Добавьте в корзину

Товар добавлен в корзину!