Замечание: Undefined index: REDIRECT_URL в файле /var/www/champion-tools.ru/public_html/hostcmsfiles/lib/lib_156/lib_156.php (строка 244)

Головка цилиндра Champion CH7648

Головка цилиндра Champion CH7648

АртикулФотоНазваниеЦенаКупить
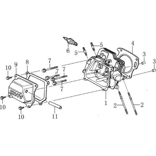
Позиция на схеме: 1Артикул: DBA001
Быстрый просмотр
Головка цилиндра G160HK G200(-1)HK клапана (25+24)
Посмотреть аналог
Цена 2 005 р. В корзину
Позиция на схеме: 2Артикул: 380180093-0001
Быстрый просмотр
Шпилька М6х113,5 GS5562
Позиция на схеме: 3Артикул: 380600117-0001
Быстрый просмотр
Штифт 10х14 GS5562
Позиция на схеме: 4Артикул: 012020008100
Быстрый просмотр
Прокладка головки цилиндра G160HK G200HK D=68 ммЦена 195 р. В корзину
Позиция на схеме: 5Артикул: 380180098-0001
Быстрый просмотр
Шпилька М8х34Цена 79 р.
Позиция на схеме: 6Артикул: F7RTC
Быстрый просмотр
Свеча зажигания IGP F7RTCЦена 145 р. В корзину
Позиция на схеме: 7Артикул: 380140336-0001
Быстрый просмотр
Болт М8х60 GS5562
Позиция на схеме: 8Артикул: DA03B000
Быстрый просмотр
Прокладка крышки клапанов G100-210H/BC/CH/CVG/GG/GP/GS/GSC/PC/SC/ST/TR
Посмотреть аналог
Цена 45 р. В корзину
Позиция на схеме: 9Артикул: DAA003
Быстрый просмотр
Крышка клапанов G200-1HK / G100HK-210HK / ST553, 556, 661, 656, 762E / BC4311, 5512, 5712, 6712, PC5431, 6337FЦена 205 р. В корзину
Позиция на схеме: 10Артикул: 380140215-0003
Быстрый просмотр
Болт М6х14 G120HK, G160HK, G200-1HK, G200HK
Позиция на схеме: 11Артикул: DBC004
Быстрый просмотр
Шланг сапуна G160HK G180HK G200-1HK G210HKЦена 35 р. В корзину
Работаем с 2009 года
например, цилиндр 240
861 товар в магазине

Колл-центр

ПН-ПТ 10:00 - 18:00
СБ-ВС Выходной


время работы: ПН-ПТ 10:00 - 18:00, СБ-ВС Выходной

Меню

Каталог

Добавьте в корзину

Товар добавлен в корзину!