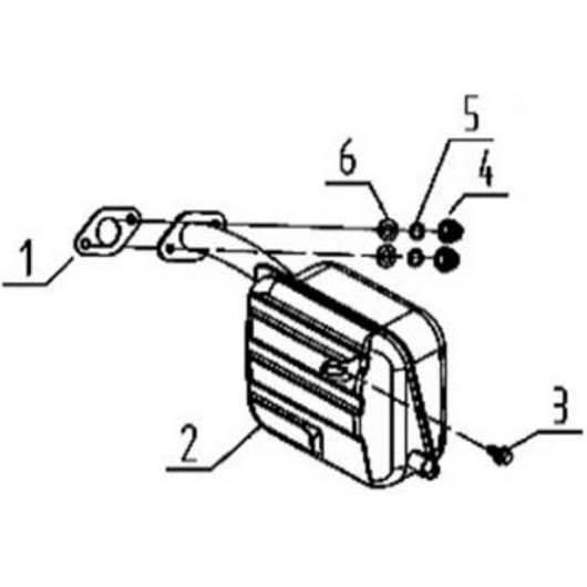
Глушитель Champion GG1000

Глушитель Champion GG1000

АртикулФотоНазваниеЦенаКупить
Позиция на схеме: 1Артикул: 029049910100
Быстрый просмотр
Прокладка глушителя G100HK / GG1000, 1200, 1300 / GP40, GP40 ( 2019 ) / PC5332FЦена 35 р. Уведомить
Позиция на схеме: 2Артикул: 2904020001804
Быстрый просмотр
Глушитель GG1000Цена 949 р.
Позиция на схеме: 6Артикул: 513010800001
Быстрый просмотр
Шайба болта крепления корпуса помпы GP50, GP80 ( до s/ n 18010000 декабрь 2017)
Работаем с 2009 года
например, фильтр 142
848 товаров в магазине

Колл-центр

ПН-ПТ 10:00 - 18:00
СБ-ВС Выходной


время работы: ПН-ПТ 10:00 - 18:00, СБ-ВС Выходной

Меню

Каталог

Добавьте в корзину

Товар добавлен в корзину!